… zeigte den Piloten die Windrichtung an
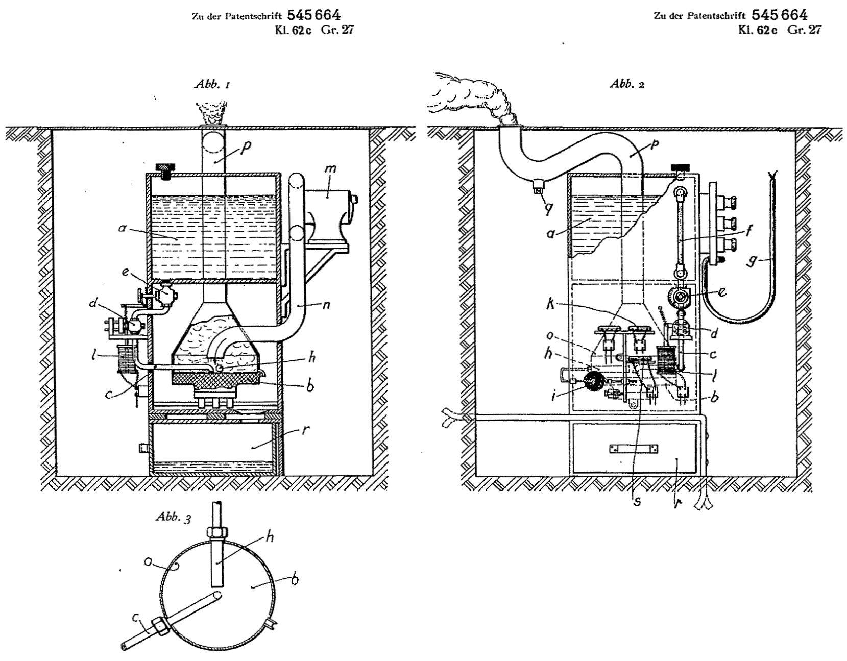
Am 5. September 1930 wurde dem Betreiber des Flughafens Stuttgart-Böblingen, der „Luftverkehr Württemberg AG“, das Patent für einen Raucherzeuger erteilt, der dann noch im selben Jahr auf dem Flugplatz eingebaut wurde.





